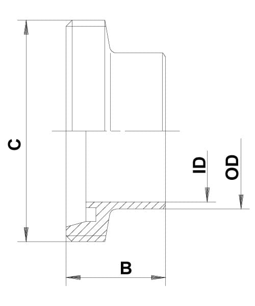
DIN male for ISO pipe, weld on

Internal surface roughness of R 0.8 µ and provided with a batch number..
Designed with collar for welding on stainless steel dairy pipes.

Made of AISI 316L / EN 1.440 stainless steel, ISO 2037. 

Standard DIN 11851. 

Item number Nominal dim.
mm.
C dia.
mm.
ID Ø dia.
mm.
OD Ø dia.
mm.
Length B
mm
Net weight
kg.
Base unit Quantity
0101340250 25,0 / 1" 52,0 x 1/6" 22,6 25,6 29,0 0,150 PCS
0101340400 40,0 / 1 1/2" 65,0 x 1/6" 35,6 38,6 33,0 0,250 PCS
0101340500 50,0 / 2" 78,0 x 1/6" 48,6 51,6 35,0 0,340 PCS
0101340650 65,0 / 2 1/2" 95,0 x 1/6" 60,3 64,1 40,0 0,560 PCS
0101340800 80,0 / 3" 110,0 x 1/4" 72,9 76,7 45,0 0,420 PCS
0101341000 100,0 / 4" 130,0 x 1/4" 97,6 102,5 54,0 1,160 PCS
Subject to incorrect product data, variations in images/videos, and price and exchange rate changes.
Luk

It only takes 1 minute...

Luk
Log in

There was an error!

Create new password

There was an error!

We've sent you an email with a link to create your new password. Please check your spam folder if you cannot find it.