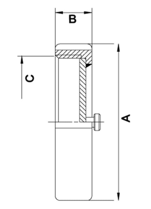
DS blind nut with pin & chain

Designed with grooves for hook spanners.
Delivered with pin and chain.

Made of stainless steel AISI 304 / EN 1.4301.

Item number Nominal dim.
mm.
A dia.
mm
C dia.
mm.
Length B
mm
Net weight
kg.
Base unit Quantity
0101121250 25,0 57,0 44,0 x 1/6 20,0 0,200 PCS
0101121380 38,0 71,0 58,0 x 1/6 20,0 0,300 PCS
0101121510 51,0 86,0 72,0 x 1/6 22,0 0,450 PCS
0101121640 63,5 103,0 88,0 x 1/6 24,0 0,640 PCS
0101121760 76,1 115,0 100,0 x 1/6 25,0 0,900 PCS
0101121990 101,6 150,0 130,0 x 1/4 28,0 1,530 PCS
Subject to incorrect product data, variations in images/videos, and price and exchange rate changes.
Luk

It only takes 1 minute...

Luk
Log in

There was an error!

Create new password

There was an error!

We've sent you an email with a link to create your new password. Please check your spam folder if you cannot find it.